Čeština
Deutsch
English (United Kingdom)
Español
Français
Italiano
Polski
Português
Svenska
Order
Menu
Settings
Sign in
Menu
Settings
Sign in
Implements
Loaders
Spare parts
Contact
Quicke Parts
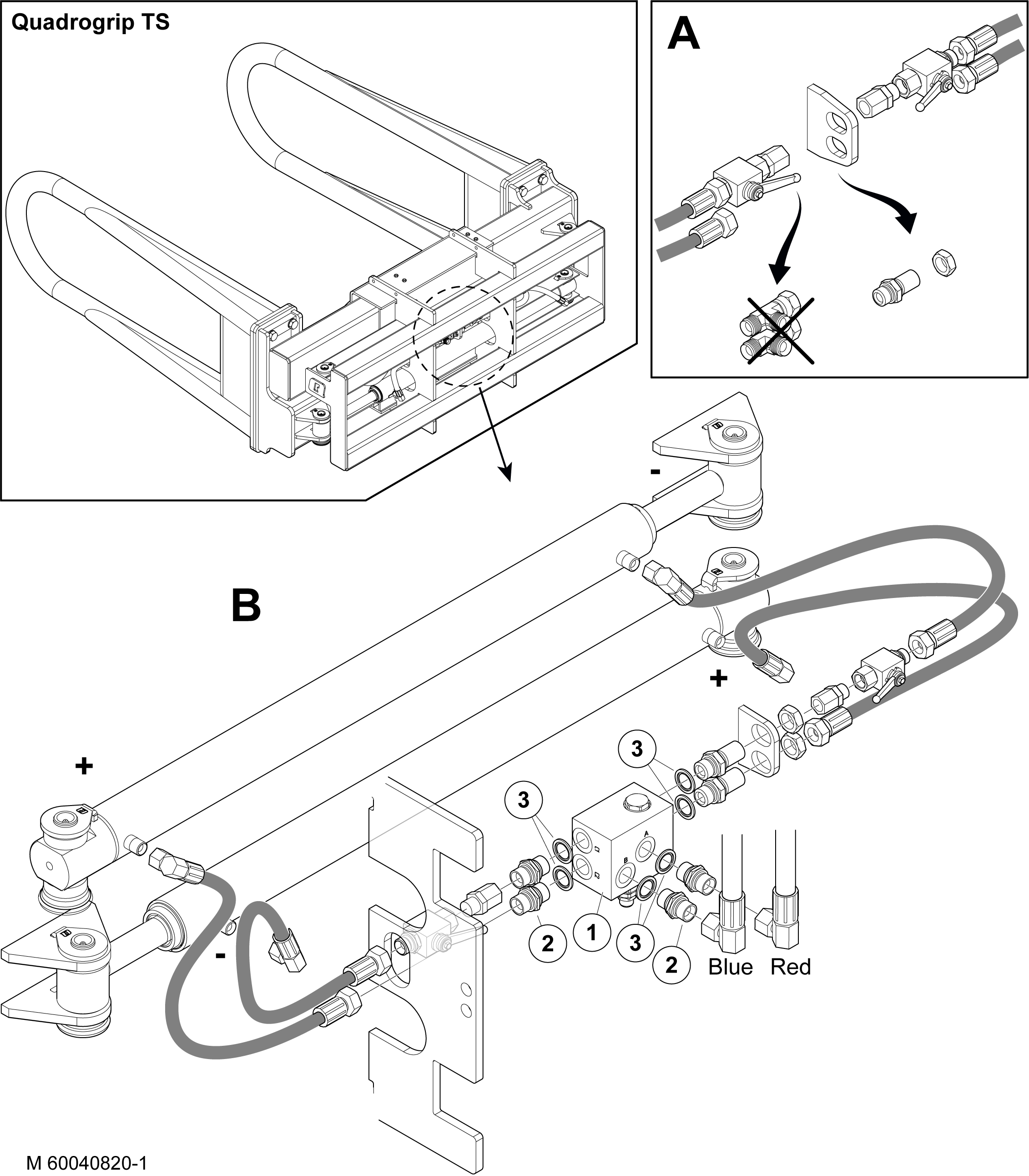
60040820 - Load hold and pressure relief valve kit
Load hold and pressure relief valve kit
Number
60040820
Pdf file
Csv file
Excel file
Illustration file