Čeština
Deutsch
English (United Kingdom)
Español
Français
Italiano
Polski
Português
Svenska
Order
Menu
Inställningar
Logga in
Menu
Inställningar
Logga in
Redskap
Lastare
Reservdelar
Kontakt
Quicke reservdelar
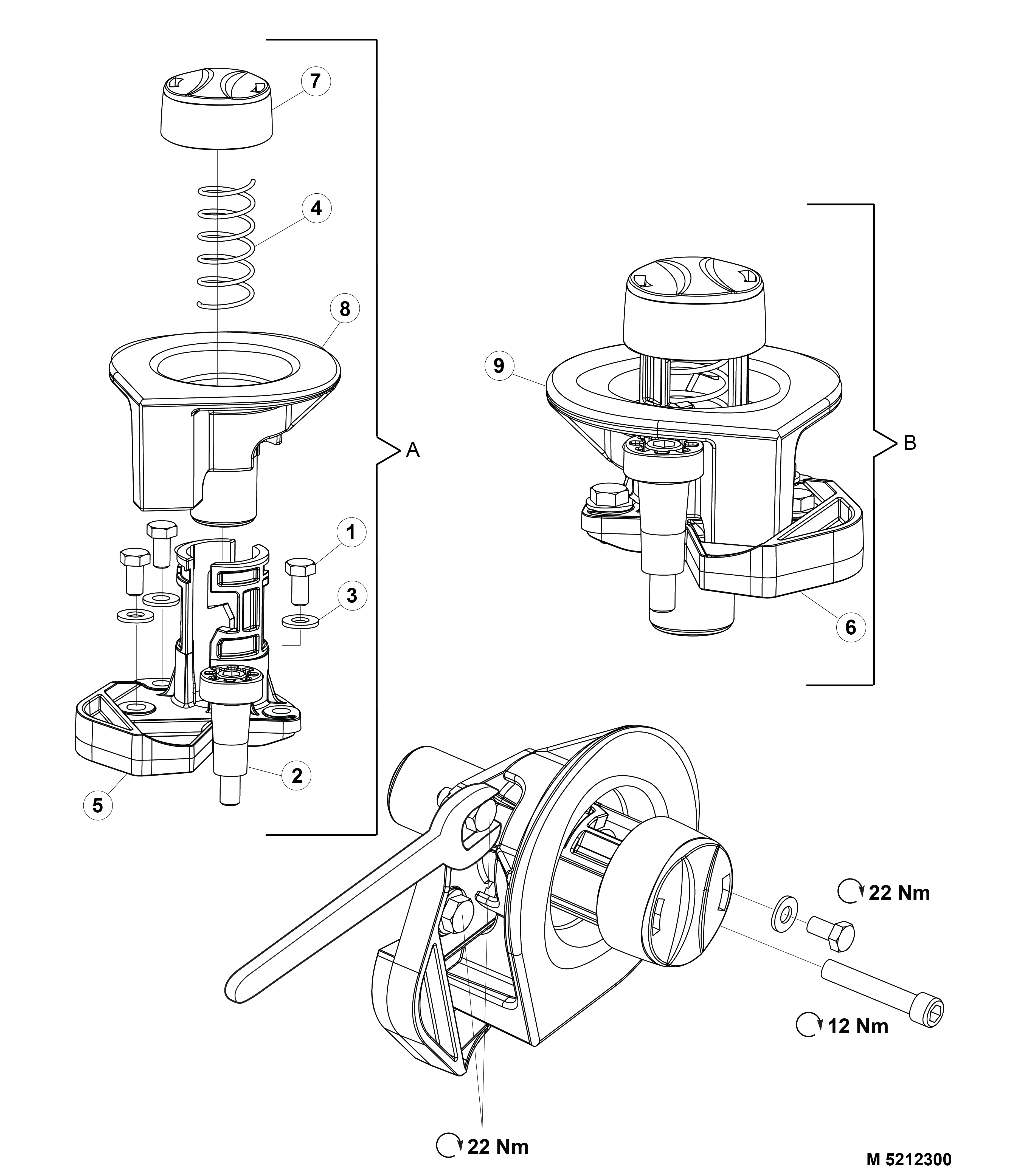
5212300 - Låsningssats
Låsningssats
Nummer
5212300
Serienummer från
7371333
Pdf-fil
Csv-fil
Excel-fil
Illustrationsfil